Quectel EC800E-CN
发布时间:2023-04-13 15:32:01
浏览次数:次
EC800E-CN 是移远通信专为 M2M 和 IoT 领域而设计的 LTE Cat 1 无线通信模块,支持最大下行速率 10 Mbps 和最大上行速率 5 Mbps,超小封装,超高性价比。同时,EC800E-CN 在封装上兼容 EC800M-CN、EC800N-CN 和EC800G-CN 模块。
EC800E-CN 采用镭雕工艺,镭雕工艺具有外观更好看、金属质感强、散热更好、信息不容易被抹除、更能适应自动化需求等优点。
EC800E-CN 内置丰富的网络协议,集成多个工业标准接口,并支持多种驱动和软件功能(如Windows 7*/ 8*/8.1*/ 10/11、Linux、Android等操作系统下的 USB 转串口驱动),极大地拓展了其在 M2M 和 IoT 领域的应用范围,如 POS 、OTT、CPE、数据卡、安防以及工业级 PDA 等。
主要优势
超小尺寸,专为 M2M 和 IoT 应用设计,尤其是小尺寸
终端的需求
支持 DFOTA 远程在线升级,降低后期运维成本
超高性价比
超低功耗

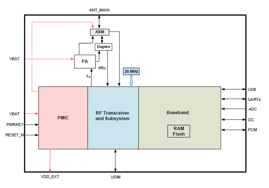
原理框图 (EC800E-CN)

移远全方位支持服务
上一篇:Quectel E600N-CN

